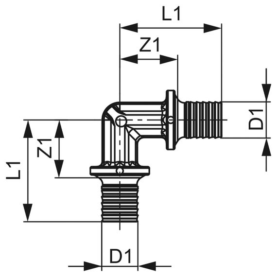
Угол соединительный 90 Tece 16 х 16 мм 767016 представляет собой цельнолитое соединение в виде отвода под углом 90. На обоих выходах угольника имеются штуцеры для сборки магистралей из пластиковых труб надвижными гильзами при прессовом монтаже. Для прочности и герметичности соединения аксиальным методом на штуцерах выполнены проточки, между которыми образуются кольцеобразные выступы.
Посадка пластиковой трубы на штуцер ограничивается монтажным упором, разделяющим штуцер и корпус уголка. Соединительный латунный угол Тесе 90 градусов применяется для выполнения поворота пластикового трубопровода общего назначения под углом 90 градусов.
Преимущества соединительного угла Tece 16мм 90 из латуни для труб из сшитого полиэтилена:
- надежность соединения и герметичность;
- длительный срок эксплуатации;
- быстрый и несложный монтаж;
- стойкость к коррозии.
 
		 
		 
 
 
